ページの先頭です。
メニューを飛ばして本文へ
福島県
はじめての方へ
Foreign language
サイトマップ
Googleカスタム検索
JavaScriptが無効のため、文字の大きさ・背景色を変更する機能を使用できません。
色を変える
文字の大きさ
組織でさがす
カレンダーでさがす
くらし・環境
震災・復興
防災・安全
子育て・医療・福祉
観光・文化・教育
しごと・産業
県政情報
ホーム
>
組織でさがす
>
共生社会・女性活躍推進課
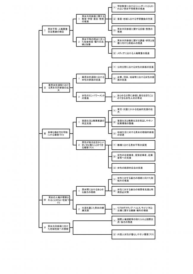
> ふくしま男女共同参画プラン(改定前)体系です
本文
ふくしま男女共同参画プラン(改定前)体系です
印刷用ページを表示する
掲載日:2014年4月1日更新
Tweet
トップページ
前のページへ
【データ・資料集】 ふくしま男女共同参画プラン
計画の体系
※4-1-(1)及び(2)については、「女性に対する暴力」を「男女間の暴力」と読み替えてください。
トップページ
前のページへ
このページのトップへ
前のページに戻る